기사 메일전송
"가상화폐는 정부가 다 보호해 줄 수 없다" 은성수 금융위원장 발언에 가상화폐 급락 - - 특금법(특정금융거래정보의 이용 및 보고에 관한 법률)으로 등록 받은 거래소 전무 - 9월까지 유예기간 준 뒤 거래소 모두 없어 질 수도 - 미국 최대 암호화폐 거래소인 코인베이스 나스닥…
  • 기사등록 2021-04-23 09:27:43
  • 기사수정 2021-04-23 09:46:39
기사수정

[경제&=김지영 기자] 가상화폐 시장이 그야말로 패닉에 빠지고 있다. 

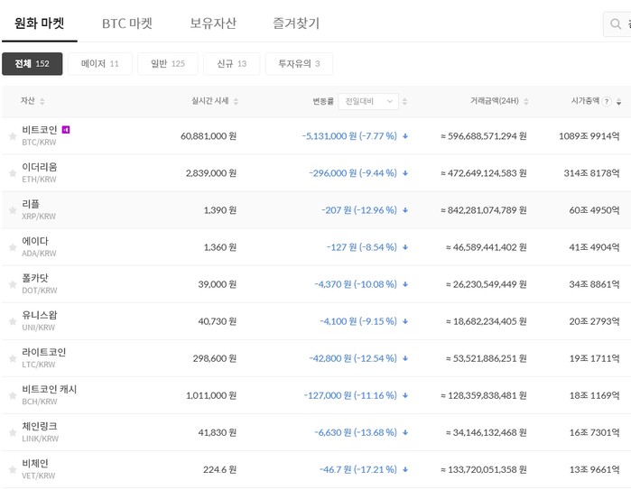
빗썸 거래소 기준으로 볼때 최대 가상화폐인 비트코인이 현재 시간 6,000만원을 겨우 유지하고 있다. 오늘 변동 금액만 520여만원이 하락했고 포인트로는 7.9%가량 빠지면서 6,000만원대 유지가 쉽지 않아 보인다. 금일 오전 9시즈음 한때 5,800만원때까지 빠지기도 했다.

 

전날 22일 은성수 위원장이 국회 정무위원회 전체회의에 참석해 질의하는 과정에서 여러 이야기가 쏟아져 나왔다.

 

은 위원장은 이날 질의에서 “특금법(특정금융거래정보의 이용 및 보고에 관한 법률)으로 등록을 받고 있는데 현재 등록한 업체는 없다.”라고 지적하면서 "정부가 (가상화폐 투자)에 모든 것을 다 보호해줄수 없다"는 입장을 강조했다.

▲ 가상화폐 거래소 빗썸 캡쳐 화면

또 “특금법(특정금융거래정보의 이용 및 보고에 관한 법률)의 유예 기간을 9월까지로 하고 있긴 하지만 이후 약 200여개의 거래소 중 살아 남을 거래소가 없을 수도 있다"며 강한 어조로 질의에 대답했다.

 

이번 특금법의 유예기간인 9월까지 1. 실명계좌를 발급받고 2. 자금세탁방지(AML) 시스템을 갖춰야 하며 3. 정보보호관리체계(ISMS) 인증 등 요건을 충족하고 금융정보분석원에 영업을 정상적으로 하겠다는 신고를 마쳐야 9월 이후의 거래소 운영이 가능하다.

 

지금 현재 4대 거래소라 불리는 업비트를 비롯해, 빗썸, 코인원, 코빗 등은 이러한 절차에 대해 준비를 하고 있고 충족 요건은 충분히 갖출수 있는 여력이 되는 업체로 9월 이전에 신고를 마무리 할 것으로 알려졌다.

 

최근 미국 최대의 가상화폐 거래소인 코인베이스는 나스닥에 상장하면서 제도권 안으로 진입했다. 우리나라의 가상화폐를 보는 시각이 투기자본이란 인신을 다른 나라와 크게 다르지 않지만 대응이 너무 늦다는 지적은 피할 수 없을 것으로 보인다.

기사수정
  • 기사등록 2021-04-23 09:27:43
인터넷신문윤리위원회
확대이미지 영역
  •  기사 이미지 도심 속 자연 생태계...너구리
  •  기사 이미지 도심 속 자연 생태계...탐라산수국
  •  기사 이미지 도심 속 자연 생태계...월계화
최신뉴스더보기
한얼트로피
코리아아트가이드_테스트배너
정책브리핑_테스트배너
유니세프_테스트배너
국민신문고_테스트배너
정부24_테스트배너
모바일 버전 바로가기